Fordelene med mobile portaler er deres rundstrålende mobilitet, rask demontering og installasjon, og minimalt fotavtrykk, slik at de kan flyttes til et annet sted ved hjelp av en minivan. Deres justerbare bredde og høyde, sammen med deres veldesignede stålramme, tåler belastninger fra 100 til 5000 kg. De er spesielt egnet for installasjon, håndtering og igangkjøring av verkstedutstyr, lasting og lossing av last fra kjøretøy og løfting av store motorkomponenter i bilverksteder.
Det er to hovedtyper av små løfteportaler: den ene er en fullt mobil portal med bremsede bærende hjul, egnet for løfting på bakkenivå. Den andre er en fast portal montert på skinner på et gulv eller en bjelke, ved hjelp av en elektrisk eller manuell talje for mekanisert løfting. Dette reduserer arbeidskraft, reduserer produksjons- og driftskostnader og forbedrer arbeidseffektiviteten. Vårt firma kan tilpasse produkter basert på kundens krav til nettstedet. Mobile portaltaljer kan utstyres med enten en håndkjettingtalje eller en elektrisk kjettingtalje, og tilbyr høy praktisk funksjon og utprøvd teknologi, noe som gjør dem svært populære blant produsenter.
| Modelll | Løfte vekt | Dimensjoner (mm) | Dødvekt | |||||||||
| kG | A | B | C | D | F | G | H | J | K | L | (kG) | |
| SRGS20 | 500 | 2000 | 2080 | 1100-1500 | 1544-2044 | 1876-2376 | 1158 | 2001-2501 | 2080 | 420 | 440 | 39 |
| SRGS23 | 400 | 2300 | 2380 | 1200-1800 | 2380 | 40 | ||||||
| SRGS40 | 250 | 4000 | 4080 | 2700-3500 | 4080 | 46 | ||||||
| SRGM20 | 400 | 2000 | 2080 | 1100-1500 | 1548-2148 | 1880-2480 | 1215 | 2005-2605 | 2080 | 40 | ||
| SRGM23 | 400 | 2300 | 2380 | 1200-1800 | 2380 | 41 | ||||||
| SRGM40 | 250 | 4000 | 4080 | 2700-3500 | 4080 | 47 | ||||||
| SRGT20 | 250 | 2000 | 2080 | 1100-1500 | 2022-2922 | 2354-3254 | 1586 | 2479-3379 | 2645 | 44 | ||
| SRGT23 | 250 | 2300 | 2380 | 1200-1800 | 2380 | 45 | ||||||
| SRGT40 | 250 | 4000 | 4080 | 2700-3500 | 4080 | 50 | ||||||
| SRG1S20 | 1000 | 2000 | 2080 | 1102-1502 | 1490-1990 | 1822-2322 | 1242 | 1904-2404 | 2077 | 464 | 536 | 61 |
| SRG1S30 | 1000 | 3000 | 3080 | 1902-2502 | 3077 | 67 | ||||||
| SRG1S40 | 500 | 4000 | 4080 | 1902-3502 | 4077 | 73 | ||||||
| SRG1M20 | 1000 | 2000 | 2080 | 1102-1502 | 1728-2428 | 2061-2761 | 1440 | 2143-2843 | 2200 | 65 | ||
| SRG1M30 | 1000 | 3000 | 3080 | 1902-2502 | 3077 | 71 | ||||||
| SRG1M40 | 500 | 4000 | 4080 | 1902-3502 | 4077 | 77 | ||||||
| SRG1T20 | 1000 | 2000 | 2080 | 1102-1502 | 1969-2869 | 2301-3201 | 1639 | 2383-3283 | 2830 | 70 | ||
| SRG1T30 | 1000 | 3000 | 3080 | 1902-2502 | 3077 | 76 | ||||||
| SRG1T40 | 500 | 4000 | 4080 | 1902-3502 | 4077 | 82 | ||||||
| Løftekapasitet | Modelll | Dimensjoner (mm) | Vekt (kg) Støtteben*2 Fjernlys*A | Spesifikasjoner for hjul | ||||
| Krokhøyde D | Høydeøkning E | Maksimal høyde på bjelketopp F | Total høyde H | Bredde G | ||||
| 2000 (A=3920) | S | 1495-2245 | 5 x 150 | 2600 | 1931-2681 | 1212 | 68*2 9,2*A | 6 tommer |
| M | 2117-2867 | 5 x 150 | 3222 | 2553-3303 | 1429 | 75*2 9,2*A | 6 tommer | |
| jeg | 2232-3232 | 5x200 | 3587 | 2668-3668 | 1726 | 84*2 9,2*A | 6 tommer | |
| T | 2747-3947 | 6x200 | 4301 | 3183-4383 | 1993 | 93*2 9,2*A | 6 tommer | |
| H | 3195-4395 | 6x200 | 4847 | 3730-4930 | 2234 | 98*2 9,2*A | 6 tommer | |
| L | 3585-4785 | 6x200 | 5347 | 4230-5430 | 2557 | 105*2 9,2*A | 6 tommer | |
| K | 3686-5286 | 8x200 | 5848 | 4330-5930 | 2733 | 111*2 9,2*A | 6 tommer | |
| B | 3869-5669 | 9x200 | 6149 | 4431-6231 | 2733 | 115*2 9,2*A | 6 tommer | |
| 3000 (A=3920) | 5 | 1545-2295 | 5 x 150 | 2698 | 2029-2779 | 1212 | 71*2 11*A | 8 tommer |
| M | 2167-2917 | 5 x 150 | 3320 | 2651-3401 | 1429 | 78*2 11*A | 8 tommer | |
| jeg | 2282-3282 | 5x200 | 3685 | 2766-3766 | 1726 | 87*2 11*A | 8 tommer | |
| T | 2797-3997 | 6x200 | 4399 | 3281-4481 | 1993 | 95*2 11*A | 8 tommer | |
| H | 3245-4445 | 6x200 | 4847 | 3730-4930 | 2234 | 101*2 11*A | 8 tommer | |
| L | 3745-4945 | 6x200 | 5347 | 4230-5430 | 2557 | 107*2 11*A | 8 tommer | |
| K | 3846-5446 | 8x200 | 5848 | 4330-5930 | 2733 | 113*2 11*A | 8 tommer | |
| B | 4029-5829 | 9x200 | 6231 | 4513-6313 | 2733 | 119*2 11*A | 8 tommer | |
| 5000 (A=3920) | jeg | 2143-3143 | 5x200 | 3592 | 2717-3717 | 1736 | 108*2 15*A | 8 tommer |
| T | 2838-4038 | 6x200 | 4487 | 3412-4612 | 2059 | 120*2 15*A | 12 tommer | |
| H | 3289-4489 | 6x200 | 4938 | 3862-5060 | 2234 | 125*2 15*A | 12 tommer | |
| L | 3789-4989 | 6x200 | 5438 | 4362-5562 | 2557 | 131*2 15*A | 12 tommer | |
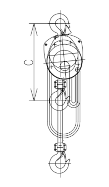
| Håndkjedetalje (referanse) | ||
| Last (kg) | C(mm) | Vekt (kg) |
| 250 | 290 | 4 |
| 500 | 350 | 9 |
| 1000 | 380 | 12 |
| 2000 | 460 | 19 |
| 3000 | 570 | 27 |
| 5000 | 700 | 43 |
| Elektrisk talje (referanse) | |||
| Last (kg) | C(mm) | Løftehastighet (m/min) | Vekt (kg) |
| 250 | 410 | 8/2 | 24 |
| 500 | 490 | 8/2 | 31 |
| 1000 | 430 | 4/1 | 35 |
| 2000 | 615 | 4/1 | 65 |
| 3000 | 730 | 4/1 | 140 |
| 5000 | 760 | 4/1 | 150 |
Valgfritt tilbehør
| For SRG-type | ||
| Serienummer | Navn | Bilde |
| SRG0006 | 0,5t vinsj | |
| SRG1006 | 1t vinsj | |
| SRG0007 SRG1007 | Stiv støtte | |
| SRG0008 SRG1008 | Fleksibel støtte | |
| SRG1010 | PRG1 type | |
| SRG0016 SRG1016 | Festestrop | |
| For SG-type | ||
| Serienummer | Navn | Bilde |
| SG 2006 SG 3006 SG 5006 | Avtakbar vogn | |
| SG 2008 SG 3008 SG 5008 | Håndglidelåsvogn | |
| SG 0002 | Trallekraftfordeling | |
| SG 2010 SG 3010 SG 5010 | Støtteben | |
| SG 2012 SG 3012 SG 5012 | Hjelpehjul | |
| SG 2016 SG 3016 SG 5016 | Enhjuling type | |
Zhejiang Shuangniao Lifting Equipment Co., Ltd. er et spesialutstyrsselskap som spesialiserer seg på forskning og utvikling, produksjon, markedsføring og ettersalgsservice av elektriske taljer med ståltau. Siden etableringen har selskapet lagt stor vekt på utvikling av nye produkter og teknologisk innovasjon, og har fokusert på høye utgangspunkt og høye konfigurasjoner. I forskning og utvikling av elektrisk talje, mens den kontinuerlig introduserer utenlandsk avansert teknologi, utvikler den aktivt forskning og utvikling av nye elektriske taljer i europeisk stil, og etablerer kjernekonseptet "innovasjon leder fremtiden, fokus på å oppnå fantastisk", som har blitt vingestokken for innenlandsk elektrisk taljeutvikling og leder utviklingen av innenlandsk elektrisk heisindustri.